產品分類product sort
- MP-X橡膠擠出熔體泵
- MP-L低粘度熔體泵
- MP-H高溫熔體泵
- MP-R反應釜輸送熔體泵
- MP-S標準型熔體泵
- MP-M無脈動型熔體泵
- MP-D系列管道泵
- MP-C透明材質熔體泵
- MP-PVC專用熔體泵
- 熔體泵PLC控制系統
- 熔體泵PID控制系統
聯系我們contact us
- 鄭州海科熔體泵有限公司
- 地 址:鄭州高新技術產業開發區長椿路11號5號樓A單元1層A1號、2層A2號
電 話:0371-67993100
傳 真:0371-67993200
手 機:18603711392
郵 箱:haikepump@126.com
推薦新聞recommended news
介紹一種高粘度聚合物熔體泵
在聚合物擠出工藝中,螺桿擠出機是主要的設備,它的主要功能是完成物料的熔融、剪切混合、熔體輸送和減壓。在擠出機工作過程中,各種功能相互影響,致使輸送的聚合物熔體不平衡、不均勻,從而使擠出制件的均勻性降低,影響了產品的質量。除此之外,由于聚合物熔體表現很強的剪切變稀特性,且擠出機本身的結構不具有自潤滑功能,熔體在擠出機內停留時間過長,熔體粘度變小且溫度升高,從而降低了潤滑膜的承載能力,甚至發生干摩擦。
本文中的熔體泵的目的是為了解決在聚合物擠出工藝中,采用螺桿擠出機存在輸送的聚合物熔體不平衡、不均勻,從而使擠出制件的均勻性降低,影響了產品質量問題以及由于擠出機本身的結構不具有自潤滑功能,因此存在熔體在擠出機內停留時間過長,熔體粘度變小且溫度升高,從而降低了潤滑膜的承載能力、易發生干摩擦問題,進而提供一種高粘度聚合物熔體泵。
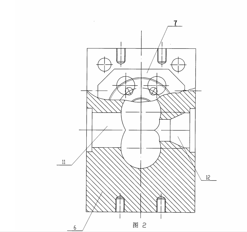
本文中的熔體泵為解決上述問題采取的技術方案是:本文中的熔體泵的熔體泵包括后端板、從動齒輪、泵體、齒輪軸和前端板,所述熔體泵還包括兩個高壓密封圈、四個滑動軸承、填料函和填料函蓋;所述齒輪軸上的齒輪和從動齒輪上下設置且均裝在泵體的齒輪腔中,所述泵體的齒輪腔分別與設置在泵體右側壁上的熔體入口和泵體左側壁.上的熔體出口連通,齒輪軸上的齒輪與從動齒輪嚙合,齒輪軸上的齒輪的外圓周端面的兩端各沒有一個臺肩端面,所述從動齒輪的外圓周端面的兩端各設有-一個臺肩端面,所述齒輪軸上的齒輪的兩個臺肩端面上和從動齒輪的兩個臺肩端面上各裝有一個滑動軸承,齒輪軸上的齒輪與后端板之間及從動齒輪與后端板之間各裝有一個高壓密封圈,所述泵體的后端面與后端板可拆卸連接,所述前端板裝在齒輪軸上且與泵體的前端面可拆卸連接,前端板前端的齒輪軸上裝有填料函蓋,所述填料函蓋與前端板之間的齒輪軸上裝有填料函,所述填料函與填料函蓋可拆卸連接,每個滑動軸承在靠近熔體出口一側的內壁上各開有一個導向槽,泵體位于熔體入口的內壁上開有導向凹槽,后端板與泵體相接觸的端面上及前端板與泵體相接觸的端面上各開有導向潤滑槽。
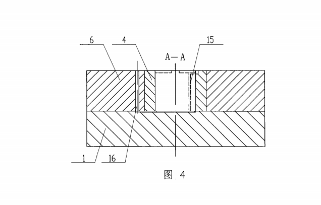
本文中的熔體泵具有以下有益效果:一、泵體、前端板、后端板和兩個嚙合的齒輪輪廓形成的空間構成了熔體進口區、輸送區和出口區。當熔體泵工作時,隨著齒輪的嚙合,出口容積減少,熔體受到擠壓,壓力增大。由于熔體出口區和熔體進口區始終存在一定的壓力差,因此在滑動軸承內壁上開有一個導向槽,將熔體出口區的高壓熔體引入滑動軸承內,隨著軸頸的旋轉充滿滑動軸承和軸頸間隙,并形成動壓潤滑膜以承載外載荷。二、在泵體上開有導向凹槽,在前端板和后端板上各開有- -個導向潤滑槽,以使熔體流回進口低壓區,從而形成一個熔體不斷更新的自潤滑系統,動壓潤滑膜的較大承載壓力與熔體的粘度、軸頸的轉速和偏心率有關。三、本文中的熔體泵可以使輸送的聚合物熔體均勻、平衡,從而提高了擠出制件的均勻性,提高了產品的質量。四、將本裝置用于聚合物擠出工藝中,用來輸送聚合物熔體,可以將來自擠出機的高溫熔體穩壓、增壓,保持熔體流量并能精確穩定地送入給擠出機頭。

圖1



附圖說明
圖1是本文中的熔體泵的整體結構主視圖,圖2是圖1的左視圖,圖3是本文中的熔體泵的潤滑系統結構主視圖( 即在滑動軸承4.上開有導向槽15; 在泵體6上開有導向凹槽16;在后端板1上開有導向潤滑槽17),圖4是圖3的A-A剖視圖,圖5是本文中的熔體泵的潤滑系統結構主視圖(即在滑動軸承4.上開有導向槽15;在泵體6上開有導向凹槽16;在前端板7.上開有導向潤滑槽17)。
上一篇:熔體計量泵的結構及工作原理
下一篇:齒輪泵,高粘度泵,高溫熔體泵,對于橡膠這種材料的應用




